ASL1507SHNY NXP Semiconductors ASLx507直流-直流升压转换器

KANA 发表于 2020-11-06 10:07:02

数据: NXP Semiconductors ASLx507直流-直流升压转换器.pdf

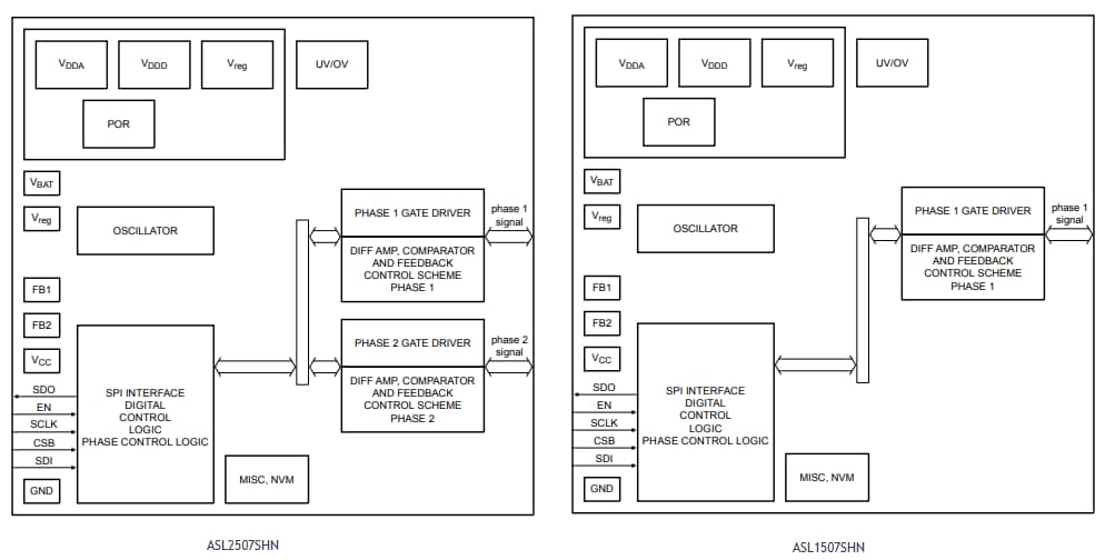
NXP Semiconductors ASLx507直流-直流升压转换器包括单相和双相IC,具有可编程limp-home模式特性。这些升压转换器IC设有一个或两个集成栅极驱动器,可驱动外部功率MOSFET和集成的比例积分 (PI) 控制器。ASLx507升压转换器设有SPI接口,可对外部微控制器进行全面控制并与其进行诊断通信。如果与微控制器的SPI通信失败,这些升压转换器支持在limp-home模式下进行可配置操作。ASLx507 IC的输出根据存储在非易失性存储器 (NVM) 中的预定义条件运行,该非易失性存储器可由客户在limp-home模式下进行编程。

特性

  • 符合AEC-Q100 1级标准
  • Limp-home模式,确保系统安全
  • 每个输出上单相或一个输出上双相
  • 两个独立控制的输出电压,精度为3%
  • 通过内置振荡器,在125kHz至700kHz范围内固定频率运行
  • 可编程扩频功能
  • 检测到输出过压时,栅极切换停止
  • 可编程栅极电压
  • 低电磁辐射 (EME) 和高电磁抗扰度 (EMI)
  • 斜率补偿,跟踪频率和输出电压
  • 可编程控制环路补偿
  • 输出电压监控
  • 电源电压测量
  • 通过SPI读回编程的电压和频率范围
  • 通过SPI监控结点温度
  • HVQFN32封装外形

规范

  • 宽工作输入电压范围:5.5V至40V
  • 宽工作LED电压范围:2.5V至80V
  • 静态电流:<5µA(25°C时)
  • 环境工作温度范围:-40°C至125°C

应用

  • 汽车LED照明:
    • 日间行车灯
    • 位置灯或停车灯
    • 近光灯
    • 远光灯
    • 转向指示灯
    • 雾灯
    • 转弯灯
  • 工业/消费类:
    • 照明(室内)
    • 控制面板
    • 电池充电器
    • 电动自行车

ASLx507框图

技术文档

数据手册(1)

收藏

相关话题
文章来源栏目
+加入圈子

评论(1)

加载更多评论

参与评论

分享到

QQ空间 QQ好友 微博
取消