RT9205/RT9205A Dual Regulators

新品快讯

29人已加入

描述

RT9205/RT9205A Dual Regulators - Synchronous Buck PWM DC-DC and Linear Controller

The RT9205/A is a dual-output power controllers designed for high performance graphics cards and personal computers. The IC integrates a synchronous buck controller, a linear controller and protection functions into a small 14-pin package.
The RT9205/A uses an internal compensated voltage mode PWM control for simplying design. An internal 0.8V reference allows the output voltage to be precisely regulated to meet low output voltage requirement. A fixed 300kHz oscillation frequency reduces the component size for saving board area.
The RT9205/A also features over voltage protection (OVP) and under voltage lock-out (UVLO).

Ordering Info


Controller

Note :
Richtek Pb-free and Green products are :
► RoHS compliant and compatible with the current require-
ments of IPC/JEDEC J-STD-020.
► Suitable for use in SnPb or Pb-free soldering processes.

Features

• Operates at 5V
• 0.8V Internal Reference
• Drives Two N-MOSFET
• Voltage Mode PWM Control
• Fast Transient Response
• Fixed 300kHz Oscillator Frequency
• Dynamic 0 to 100% Duty Cycle
• Internal PWM Loop Compensation
• Internal Soft-Start
• Adaptive Non-Overlapping Gate Driver
• Over-Voltage Protection Uses Lower MOSFET
• RoHS Compliant and 100% Lead (Pb)-Free
 
 
Application

• PC Motherboard
• Cable Modems, Set--Box, and XDSL Modems
• DSP and Core Communications Processor Supplies
• Memory Power Supplies
• Personal Computer Peripherals
• Industrial Power Supplies
• 5V Input DC-DC Regulators
• Low Voltage Distributed Power Supplies
• Graphic Cards

Pin Configurations
(TOP VIEW)

Controller

SOP-14

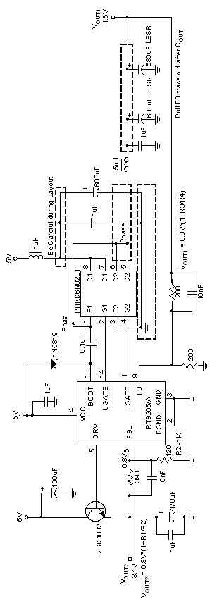
Typical Applications Circuit

Controller
Figure 1. RT9205/A powered form 5V
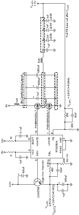
Controller
Figure 2. RT9205/A powered from 12V
Controller

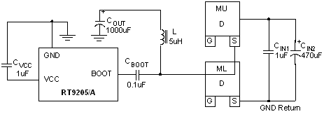
Layout Placement

Layout Notes
1. Put C1 & C2 to be near the MU drain and ML source nodes.
2. Put RT9205/A to be near the COUT
3. Put CBOOT as close as to BOOT pin
4. Put CVCC as close as to VCC pin

打开APP阅读更多精彩内容
声明:本文内容及配图由入驻作者撰写或者入驻合作网站授权转载。文章观点仅代表作者本人,不代表电子发烧友网立场。文章及其配图仅供工程师学习之用,如有内容侵权或者其他违规问题,请联系本站处理。 举报投诉

全部0条评论

快来发表一下你的评论吧 !

×
20
完善资料,
赚取积分