前言
全极型霍尔开关,也称为无极性霍尔开关,是一种对磁场南极(S极)与北极(N极)均能响应的霍尔效应传感器。其核心工作特点为:任意磁极靠近,当磁场强度超过工作阈值(BOP)时,输出导通;当磁场移除,强度低于释放阈值(BRP)时,输出关闭,无需特定磁极触发,可以将它形象比喻为“从任意方向靠近都能响应”的感应门。具有体积小、灵敏度高、寿命长、可靠性强等优点,广泛应用于电子、电力、仪器仪表、汽车、通信等领域。
一MT865X 系列全极型霍尔开关
MT865X系列全极型霍尔开关由麦歌恩(MagnTek,现隶属纳芯微NOVOSENSE)推出,采用CMOS工艺(互补金属氧化物半导体,一种集成电路的设计工艺,将NMOS器件和PMOS器件同时制作在同一硅衬底上),霍尔IC内部集成了高灵敏度水平霍尔板、用于模式控制的睡眠/唤醒逻辑电路、低功耗片上振荡器、具有动态偏移抵消的低噪声模拟信号链、迟滞比较器以及输出驱动器,具有高性能以及高可靠性。2.0V~5.5V工作电压,纳安级功耗,非常适用于电池供电设备;-40~125℃宽工作温度范围,搭配优良的温度补偿能力,即使在恶劣环境中,也能保持优良的性能以及一致性。
以MT8651为例,关键参数表:
| 产品型号 | MT8651 |
| 类型 | 全极开关 |
| 采样频率 | 20Hz |
| 工作电压 | 2.0~5.5V |
| 功耗 | 1.2μA |
| 工作温度 | -40℃~125℃ |
| 工作点(BOP) | ±37Gs |
| 释放点(BRP) | ±25Gs |
| 输出形式 | 开漏输出 |
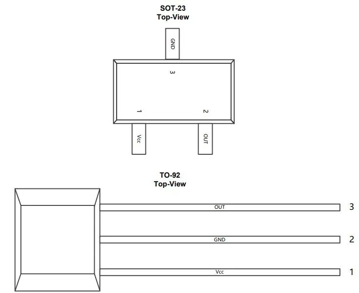
| 封装 | SOT-23;Flat TO-92 |
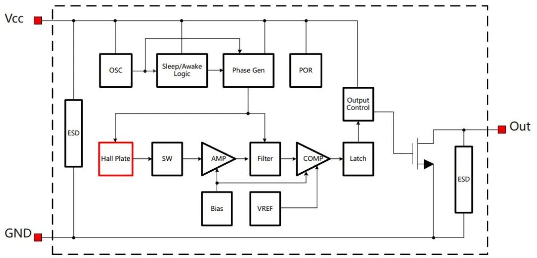
功能框图
二核心技术:为解决问题而设计
1.全极性响应,简化组装,改善体验
与传统单极霍尔开关仅对N极或S极响应,组装时需严格对齐磁极,否则设备无法触发的使用场景相比,MT865X是一种全极型霍尔开关,其采用“水平双霍尔元件”布局,无论N极还是S极靠近均能响应——当磁通密度(B)大于工作点(BOP)时,输出导通(低电平);当磁通密度(B)低于释放点(BRP)时,输出将关闭(高电平)。这种设计,对于工程师和厂家而言,无需设计磁极定位结构,终端生产无需区分磁极方向,大大简化了安装和设计流程;对于终端用户而言,无论用磁场的哪一极去触碰,设备都能准确识别并响应,极大提升了使用体验。
2.动态失调消除,稳定输出
霍尔开关的“失调电压”(温度变化、电源波动导致的零磁场输出偏差)是影响输出信号精度和稳定的重要因素。MT865X系列霍尔效应开关IC集成具有动态失调消除功能的低噪声模拟信号链,用于减少或消除失调电压。
步骤原理:内部霍尔板采集磁场信号时会将其转换为电信号,电信号通过放大器放大时,电路会实时检测失调电压,检测到的失调电压会被实时补偿,通过调整放大器的偏置电压来消除失调影响,经过动态失调消除后的信号被送入后续的处理电路,如比较器和输出驱动器,最终产生稳定的输出信号。这种技术有效提高了MT865X系列IC的精度和稳定性,确保它们在各种工作条件下都能提供可靠的性能。

磁性特性与温度的关系(BOP与BRP)
3.超低功耗,为电池供电设备量身打造
MT865X系列内部集成睡眠/唤醒双模式架构,减少长时间待机功耗:当外部磁场强度低于BRP(如MT8651<±25Gs)时,芯片进入睡眠模式,自动关闭放大器、振荡器等非必要模块,仅保留必要的电路监测磁场变化,在睡眠模式下,芯片的供电电流降至0.6~1.4μA(Vcc=3.6V),从而减少功耗;当外部磁场强度超过BOP(如MT8651>±37Gs)时,监测电路触发唤醒信号,芯片在10μs内(典型值TAW)激活所有模块,输出开启(Low),开始正常工作。且模式切换通过内部迟滞比较器实现,防止输出在磁场变换时频繁切换,无需担忧输出稳定性。
其具备独特的时钟优化:内置低功耗振荡器控制睡眠/唤醒周期,占空比仅0.02%(睡眠50ms+唤醒10μs),进一步降低了平均能耗,在3.6V供电环境下,功耗可低至1.2μA。这一特性使得MT865X系列在需要长期待机的物联网设备中具有显著优势。以CR2032纽扣电池(容量220mAh)供电为例,MT8651静态工作时续航可达约220mAh÷1.2μA≈21000小时(近2.4年),满足物联网设备“免维护”需求。
三灵活型号选择:满足不同应用需求
MT865X系列提供多种型号选择,包括不同封装形式和灵敏度的产品,以满足各种低功耗位置检测需求。比如MT8651工作点(BOP)±37Gs,释放点(BRP)±25Gs;MT8652工作点±16Gs,释放点±9Gs,用户可根据实际应用的磁场强度选择合适的型号。
MT865X系列也为客户提供各种封装:SOT-23-3L封装,体积不足小指甲的十分之一,用于表面安装,适用于空间受限的,如TWS耳机仓、智能手表、微型传感器节点等应用场景;扁平TO92用于通孔安装,适用于工业阀门、家电控制面板、老式设备升级等场景。且所有包装都符合RoHS标准,符合环保理念。

引脚封装图
四
典型应用电路与设计建议
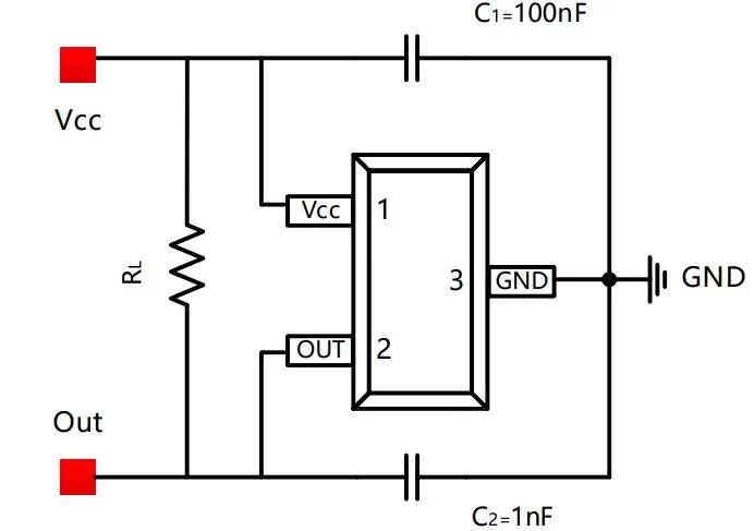
1.典型应用电路(以MT8651AT为例)
MT865X系列为开漏输出,需外接上拉电阻(RL),推荐电路如下:
电源滤波:VCC引脚(1脚)与GND(3脚)间并联100nF陶瓷电容(C1),抑制电源噪声;
输出滤波:OUT引脚(2脚)与GND间并联1nF陶瓷电容(C2),减少输出信号抖动;
上拉电阻:OUT引脚通过RL(1kΩ~10kΩ,根据负载选择)接VCC,确保输出高电平时稳定。

MT8651AT 典型应用电路
2.设计注意事项
磁场方向:霍尔板仅响应垂直于封装顶面的磁场分量,安装时需确保磁铁磁场方向垂直于芯片顶面;
热设计:SOT-23-3L封装热阻较高(301℃/W),若IOUT长期接近8mA(最大输出电流),需预留散热空间;
静电防护:虽然芯片内置ESD防护(±4000V HBM、±1000V CDM),但焊接时需接地,避免静电损伤;
五
多元应用场景:从消费电子到工业控制
域发挥价
MT865X系列全极型霍尔开关凭借其高性能与低功耗优势,可广泛应用于多个场景中:
消费电子领域:MT865X系列IC身躯微小,超低功耗,延长电池寿命,适用于空间受限的便携式消费电子应用。以TWS耳机充电仓为例,MT865X用于检测仓盖的开光状态,无需区分磁极方向,使组装过程更加简便。有报道显示,大疆充电盒就采用了MT8651。
智能家居领域:可用于门窗磁感应传感器,实现安防报警功能;也可集成于智能水杯盖中,检测杯盖是否盖好,等等。
全部0条评论
快来发表一下你的评论吧 !