该ADS131M02是一款双通道、同步采样、24 位、三角积分 (ΔΣ)、模数转换器 (ADC),具有宽动态范围、低功耗和能量测量特定功能,非常适合电能计量、功率计量和断路器应用。ADC输入可直接连接至电阻分压器网络或电源变压器以测量电压,或连接电流互感器、分流器或罗氏线圈以测量电流。
可以根据传感器输入独立配置各个ADC通道。低噪声、可编程增益放大器 (PGA) 提供 1 至 128 的增益范围,以放大低电平信号。此外,该器件还集成了通道间相位校准以及失调和增益校准寄存器,以帮助消除信号链误差。
*附件:ads131m02.pdf
器件中集成了低漂移的 1.2V 基准电压源,可减少印刷电路板 (PCB) 面积。数据输入、数据输出和寄存器映射上的可选循环冗余校验 (CRC) 可保持通信完整性。
完整的模拟前端 (AFE) 采用 20 引脚 TSSOP 封装或无引脚 20 引脚 WQFN 封装,额定工作温度范围为 –40°C 至 +125°C。
特性
- 2 个同时采样差分输入
- 可编程数据速率高达 64 kSPS
- 可编程增益高达 128
- 噪音表现:
- 增益 = 1, 4 kSPS 时的 102 dB 动态范围
- 增益 = 64、4 kSPS 时的 80 dB 动态范围
- 总谐波失真:–100 dB
- 用于直接传感器连接的高阻抗输入:
- 输入阻抗为330 kΩ,增益为1、2和4
- 输入阻抗为≥1 MΩ,增益为8、16、32、64和128
- 可编程通道间相位延迟校准:
- 电流检测模式允许极低功耗的篡改检测
- 集成负电荷泵允许输入信号低于地
- 通道间串扰:–120 dB
- 低漂移内部基准电压源
- 通信和寄存器映射上的循环冗余校验 (CRC)
- 2.7V 至 3.6V 模拟和数字电源
- 低功耗:3V AVDD 和 DVDD 时为 2.3 mW
- 封装:20引脚TSSOP或20引脚WQFN
- 工作温度范围:–40°C 至 +125°C
参数

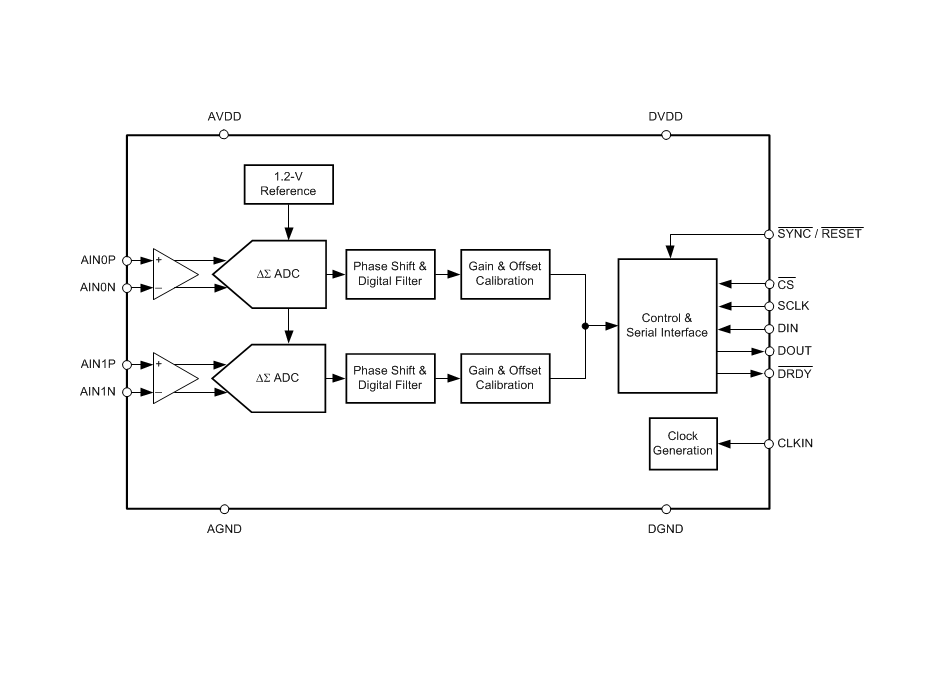
方框图

ADS131M02 是德州仪器推出的 2 通道同步采样 24 位 ΔΣ ADC,核心优势为高动态范围、可编程增益与低功耗特性,专为电能计量、断路器、保护继电器等电力相关场景设计,支持直接连接传感器实现电压、电流精准测量。
核心参数与特性
- 分辨率与采样:24 位分辨率无失码,同步采样 2 路差分输入;可编程采样率最高 64 kSPS,支持高分辨率(HR)、低功耗(LP)、极低功耗(VLP)三种功率模式。
- 增益与输入:可编程增益 1-128 倍,增益≥8 时输入阻抗≥1 MΩ,增益≤4 时为 330 kΩ;集成负电荷泵,支持输入信号低于地电位测量。
- 动态性能:增益 = 1、4 kSPS 时动态范围 102 dB,THD 低至 - 100 dB,通道间串扰 - 120 dB;输入失调误差典型值 ±175 µV,增益漂移 1 ppm/°C。
- 供电与封装:模拟 / 数字供电 2.7V-3.6V,功耗低至 2.3 mW(3V 供电);工作温度–40°C 至 + 125°C,提供 20 引脚 TSSOP(6.5mm×4.4mm)和 WQFN(3mm×3mm)封装。
- 接口与校准:SPI 接口(支持 16/24/32 位字长),带 CRC 通信校验;支持通道间相位延迟校准(244ns 分辨率)、偏移与增益校准。
关键功能设计
- 信号链架构:ΔΣ 调制器 + 数字抽取滤波器,支持 64-16384 倍过采样(OSR),可通过调整 OSR 平衡噪声与响应速度;内置 1.2V 低漂移参考源。
- 灵活校准:独立通道偏移(OCAL)和增益(GCAL)校准寄存器,支持实时误差修正;全局斩波模式(Global-Chop)可降低失调误差与漂移。
- 监控与保护:集成寄存器映射 CRC 校验,SPI 通信 CRC 错误检测;支持电流检测模式,适用于低功耗防篡改场景。
- 同步与控制:SYNC/RESET 引脚支持多器件同步或硬件复位;DRDY 引脚指示数据就绪,可配置输出格式(电平 / 脉冲)。
典型应用场景
- 电能计量:商用 / 民用电表、电能质量分析仪,实现电压 / 电流同步采样与功率计算。
- 电力保护:断路器、保护继电器,快速捕捉电力信号异常并触发保护机制。
- 电池相关:电池测试设备、电池管理系统(BMS),精准测量电池充放电电流与电压。
设计与使用建议
- 电源与去耦:AVDD 和 DVDD 需分别并联 1 µF 去耦电容,CAP 引脚(LDO 输出)需接 220 nF 电容到 DGND;模拟地与数字地就近单点连接,减少干扰。
- 输入配置:模拟输入建议添加 RC 低通滤波器抑制混叠;根据增益选择合适的驱动电路,确保源阻抗匹配以优化失真性能。
- 布局注意:采用独立接地平面,模拟信号与数字信号分区域布线;时钟信号需减少过冲与毛刺,长距离传输需终端匹配。
- 校准与同步:上电后建议进行偏移与增益校准,校准值存储于非易失性存储器;多器件同步需同步 CLKIN 时钟并触发 SYNC 信号。