ADS556x 是一款高性能的 16 位 ADC 系列,采样率最高可达 80 MSPS。该器件支持第一奈奎斯特区输入频率的极高信噪比。装置 包含低频噪声抑制模式,将噪声从直流提升至约1 MHz。
除了高性能外,该设备还具备多项灵活功能,如 输出接口(双倍数据率 [DDR] LVDS 或并行 CMOS)以及 1 dB 步进的细致增益 直到达到6 dB的最大增益。
*附件:ads5560.pdf
创新技术,如DDR LVDS和不需要的内部参考 外部解耦电容已被用来显著节省引脚数量。这 创新带来了紧凑型的7毫米×7毫米48针VQFN封装。
该设备可以置于外部参考模式,VCM引脚表现为 外部参考输入。对于电力需求高的应用,ADS556x设备提供了 在较低采样率下实现关机模式和自动功率缩放。
该装置的工业温度范围为-40°C至85°C。
特性
- 16位分辨率
- 最大采样率:
- ADS5562:80 MSPS
- ADS5560:40 MSPS
- 全面力量:
- 865毫瓦,80 MSPS
- 674毫瓦,40 MSPS
- 没有缺失的代码
- 高信噪比:84 dBFS(3 MHz 中频)
- SFDR:85 dBc(3 MHz 中频)
- 低频噪声抑制模式
- 可编程细增益,1 dB 步进,直到
最大增益达到 6 dB - 双数据速率(DDR)LVDS和并行
CMOS输出选项 - 内部与外部参考支持
- 3.3伏模拟与数字电源
- 与ADS5547家族的针对针
- 48-VQFN封装(7.00毫米×7.00毫米)
参数

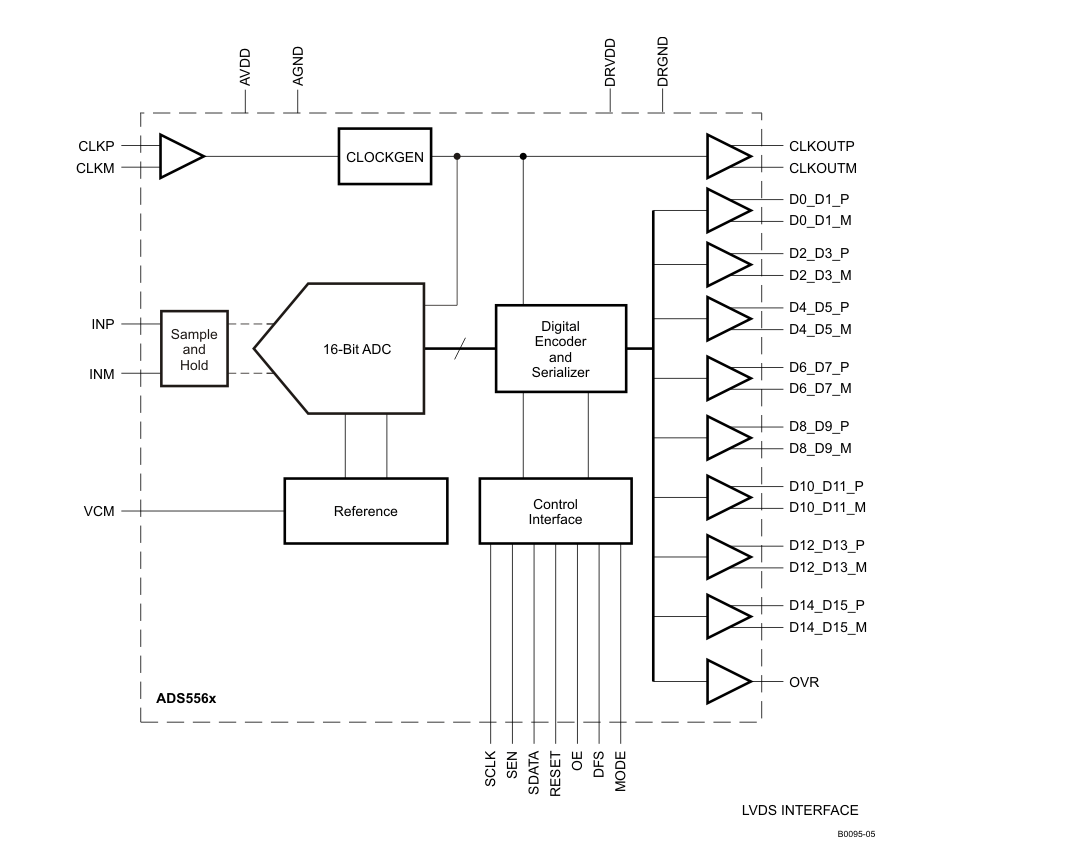
方框图

1. 产品概述
ADS556x系列是德州仪器(TI)生产的高性能16位模数转换器(ADC),包含两个型号:
- ADS5562:最高采样率80 MSPS
- ADS5560:最高采样率40 MSPS
2. 主要特性
- 分辨率:16位无失码
- 采样率:ADS5562达80 MSPS,ADS5560达40 MSPS
- 功耗:80 MSPS时865 mW,40 MSPS时674 mW
- 信噪比(SNR) :84 dBFS(3 MHz中频)
- 无杂散动态范围(SFDR) :85 dBc(3 MHz中频)
- 输出接口:支持双倍数据率(DDR) LVDS和并行CMOS
- 增益调节:可编程精细增益,1-dB步进,最大增益6-dB
- 封装:48引脚VQFN(7mm×7mm)
3. 应用领域
- 医疗成像(MRI)
- 无线通信基础设施
- 软件定义无线电
- 测试测量仪器
- 高清视频
4. 技术规格
- 模拟输入:差分输入,电压范围3.56 VPP
- 电源要求:3.3V模拟和数字供电
- 工作温度:-40°C至85°C
- 参考电压:支持内部和外部参考模式
- 低频率噪声抑制:改善DC至约1 MHz的噪声性能
- 时钟输入:支持差分时钟信号,支持正弦波、LVPECL、LVDS和LVCMOS格式
5. 功能特点
- 灵活的输出选项:DDR LVDS或并行CMOS
- 引脚兼容:与ADS5547系列引脚兼容
- 功耗模式:提供待机模式和时钟停止模式
6. 封装与引脚配置
- 采用紧凑型48引脚VQFN封装
- 提供详细的引脚功能说明,支持LVDS和CMOS两种模式
7. 编程与控制
- 并行接口控制:通过DFS、MODE、SEN、SCLK和SDATA引脚直接配置
- 串行接口编程:通过SEN、SDATA和SCLK引脚访问内部寄存器
- 组合控制模式:支持串行接口和并行引脚组合配置
8. 典型应用
- 提供详细的模拟输入驱动电路设计指南
- 包括变压器耦合和放大器驱动两种方案
- 强调时钟信号质量和低抖动要求
9. 布局建议
- 推荐良好的电源去耦
- 强调差分信号布线对称性
- 提供布局示例和热管理建议
该数据手册提供了从基本特性到详细应用设计的完整技术参考,适用于高速数据采集系统的设计与开发。