电子说
在电子工程师的日常工作中,选择合适的二极管对于电路设计的性能和稳定性至关重要。今天,我们来深入探讨一款高性能快速恢复二极管——DPF120C600HB,看看它有哪些独特的特性和应用场景。
文件下载:Littelfuse DPF120C600HB快速恢复二极管.pdf
DPF120C600HB是一款耐压600V、电流2 x 60A的通用功率开关二极管。它采用了共阴极配置的二极管阵列,并封装在TO - 247封装中。该器件属于HiPerFRED(高性能快速恢复二极管)系列,具有平面钝化芯片、极低的漏电流和极短的恢复时间等特点,非常适合高频应用,如电池充电器、功率因数校正(PFC)和高频输出整流器等。同时,Littelfuse的这款功率开关二极管还可以与其他功率半导体集成,为广泛的应用提供完整的电源解决方案。

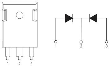
其引脚定义为:1脚是阳极,2脚是阴极,3脚是阳极。它可作为开关模式电源(SMPS)和不间断电源(UPS)中的续流二极管整流器。
| 特性 | 值 | 单位 |
|---|---|---|
| V $_{RRM}$ | 600 | V |
| I $_{FAV}$ | 2x60 | A |
| t $_{rr}$ | 40 | ns |
| 符号 | 特性 | 条件 | 值 | 单位 |
|---|---|---|---|---|
| V $_{RRM}$ | 重复反向阻断电压 | T $_{w}$ = 25℃ | 600 | V |
| I $_{RMS}$ | 均方根电流 | 每端子 | 70 | A |
| I $_{FAV}$ | 平均正向电流 | T $_{c}$ = 95℃, T = 175℃; 矩形d = 0.5 | 60 | A |
| I $_{FSM}$ | 正向浪涌电流 | t = 10 ms; (50 Hz), 正弦; V = 0V, T $_{y}$ = 45℃ | 500 | A |
| T $_{stg}$ | 储存温度 | -55 to +150 | ℃ | |
| T $_{op}$ | 工作温度 | -55 to +150 | ℃ | |
| T $_{w}$ | 虚拟结温 | -55 to +175 | ℃ | |
| P $_{rst}$ | 总功率耗散 | T = 25℃ | 214 | W |
| 符号 | 特性 | 最小值 | 典型值 | 最大值 | 单位 |
|---|---|---|---|---|---|
| R $_{thJC}$ | 结到外壳的最大热阻 | 0.70 | ℃/W | ||
| R $_{thCH}$ | 外壳到散热器的最大热阻 | 0.25 | ℃/W |
包括反向漏电流、正向电压、阈值电压、斜率电阻和结电容等参数,不同温度和电流条件下有不同的值,这些参数对于设计电路时的性能评估非常重要。
如反向恢复电荷、反向恢复电流和反向恢复时间等,这些参数反映了二极管在动态开关过程中的性能,对于高频应用尤为关键。
虽然文档中未提及DPF120C600HB具体的应用案例,但我们可以从二极管的通用应用场景来推测它可能的实际应用情况。
二极管作为整流器被广泛应用于将交流电转换为直流电的电路中。在电力系统中,大多数情况下需要将来自电源的交流电转换为直流电才能供给负载。DPF120C600HB的快速恢复特性和高耐压能力,使其非常适合在高频整流电路中使用,例如开关电源的整流部分,能够高效地将交流电转换为直流电,为后续电路提供稳定的电源。
当二极管处于反向偏置状态时,它的反向漏电流将非常小,一些特殊的信号会导致反向电流增加,此时电流可以被检测器检测到。这种技术被广泛应用于遥测传输领域,例如用于飞机和汽车的测距仪和距离计算机,同时也被用于无线通信设备中的解调器电路。DPF120C600HB的低漏电流特性可以提高信号检测的准确性和灵敏度。
在现代电子设备中,随着高频率和高速度电路的出现,二极管也得到了新的应用。例如,在高速通讯、数码电视、高速摄像机等领域中,二极管被广泛应用于操作3 - 5GHz的微波信号。DPF120C600HB的快速恢复时间和低I $_{RM}$值,使其能够在高频环境下稳定工作,减少开关损耗和电磁干扰,提高电路的性能。
该二极管采用TO - 247 - 3L封装,文档中给出了详细的封装尺寸信息,包括各个部位尺寸的毫米和英寸单位的最小值和最大值。这些尺寸对于PCB板的设计和布局非常重要,工程师在设计时需要根据这些尺寸来确保二极管能够正确安装和焊接。
产品的包装选项为管装,每管30个,最小起订量为300个。管装包装可以有效地保护二极管在运输和储存过程中不受损坏。同时,了解包装规格和最小起订量对于采购和库存管理也有很大的帮助。
DPF120C600HB高性能快速恢复二极管以其独特的特性和广泛的应用场景,成为电子工程师在电路设计中的一个不错选择。在使用过程中,工程师需要根据具体的应用需求,仔细考虑其各项参数,如电压、电流、恢复时间等,以确保二极管能够在合适的条件下工作。同时,要注意文档中提到的免责声明,用户应独立评估产品的适用性,并进行必要的测试。
大家在实际应用DPF120C600HB的过程中,有没有遇到过什么问题或者有独特的使用经验呢?欢迎在评论区分享交流。
全部0条评论
快来发表一下你的评论吧 !