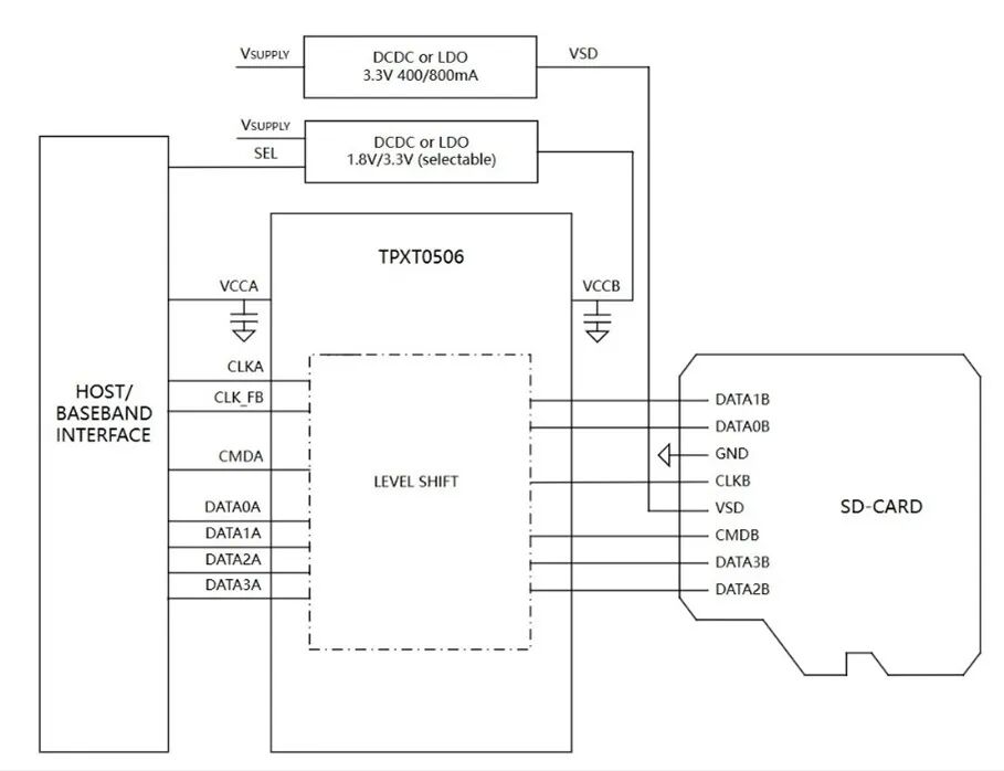
聚焦高性能模拟与数模混合产品的供应商思瑞浦3PEAK(股票代码:688536)推出完全兼容SD3.0规范的高集成度、双向双电源电平转换器——TPXT0506。产品内置自动方向控制功能,专为跨电压域连接场景设计:一端适配1.7V-3.6V信号电平的存储卡,另一端匹配1.1V-1.95V的主机接口,无需额外控制信号即可实现无缝通信。
01TPXT0506产品优势
国产供应链,高集成度
TPXT0506采用先进封装WLCSP-16,其内部集成上拉电阻与自动方向控制功能,有效减少外围元件,降低了物料清单成本与PCB板面积占用,加速产品上市。其管脚定义与业界主流方案完全兼容,支持直接P2P替换。TPXT0506基于全国产化供应链,实现自主可控与稳定供应。

宽电压范围与自动使能
TPXT0506支持VCCA侧1.1V-1.95V、VCCB侧1.7V-3.6V的宽范围电压转换,兼容性强。内置自动使能功能,当VCCB电压高于阈值时自动开启,低于阈值时自动关闭SD卡侧驱动,提升了系统的电源管理便利性与可靠性。
低延时与时钟反馈,保障高速传输
针对SD3.0规范下的高速传输需求,TPXT0506提供了低至数纳秒的传播延迟,并专门设计了时钟反馈通道,以补偿电平转换和PCB走线引入的延迟,为SDR104等超高速模式下的数据读取提供了充足的时序裕量,确保数据传输的稳定与准确。
02TPXT0506产品特性
•全面支持SD3.0规范:SDR104, SDR50, DDR50, SDR25, SDR12, High-Speed, Default-Speed模式;
•支持最高208MHz时钟速率;
•宽电压电平转换:VCCA (1.1V至1.95V) 与 VCCB (1.7V至3.6V) 之间;
•集成上拉电阻,无需外部电阻;
•自动方向感应,无需方向控制信号;
•无VCCA、VCCB上电顺序要求;
•先进封装技术:WLCSP-16。
03TPXT0506典型应用
TPXT0506全面覆盖SD3.0全系列高速模式(含 SDR104/208 MHz、DDR50)及SD2.0规范,满足高速数据传输需求。凭借高集成、高可靠性的核心优势,TPXT0506广泛应用于智能手机、平板电脑、笔记本电脑、数码相机等消费电子及便携式设备,为各类终端的存储接口提供高效稳定的信号转换解决方案。同时,TPXT0506依托全国产化供应链体系,实现供货稳定的可靠保障,为客户打造集高性能、高安全、稳供应于一体的国产化优选方案。

全部0条评论
快来发表一下你的评论吧 !