在新能源电动汽车领域,无论是微混,轻混,增程或者纯电汽车,12V备用锂电池凭借着环保,用户体验,全生命周期成本优势,装机数量快速攀升。
上篇文章(安全优先!矽力杰AFE+MCU为车载12V锂电池保驾护航)着重介绍了SA63654的功能安全架构。这篇文章,我们将给大家带来更为精彩的SA63654差异化亮点,为您量身打造安全耐用最优系统成本的12V解决方案。SA63654凭借着这些亮点,已经斩获海内外多家头部OEM的车型定点。同时矽力杰MCU-SA32B系列MCU flash容量从128KB到2MB,全系列支持功能安全ASIL-B和信息安全,满足不同类型的12V锂电BMS应用场景。
SA63654是立足于12V系统原生设计的产品,差异化设计亮点包括:
优越的高边驱动
灵活的MOS架构
同步的MOS诊断
优异的休眠功耗
业界最小的封装
完备的反向唤醒
优越的高边驱动
确保系统的可靠性
SA63654采用专利的基于电感的迟滞型Boost电路,相比基于电容的电荷泵电路,优势有:更低的静态功耗:<10uA;更低的输入电源电压:≥4V;更高的栅极驱动电压:12V;更快的闭合/关断速度:<20uS;更快的补能速度:>6mA。同时,该电路具备输出欠压保护功能,且输出欠压保护点远高于市面上功率MOS的VGS(th),因此能避免将功率MOS驱动在线性区域。综上功能优势,SA63654的高边驱动,可有效减少扩展的功率MOS对数。
灵活的MOS架构
兼容多种MOS架构
12V BMS系统采用功率MOS作为负载供电/电池充电的控制开关。在市面上,功率MOS的驱动架构有:充放电分开控制,共源;充放电同开同断,共源;充放电分开控制,共漏。SA63654能够完全兼容上述三种驱动架构。同时即使在充放电分开控制的架构中,也可以实现单一方向的过流事件时控制充放电功率MOS同时断开。三种驱动架构如下所示。



↑ 左右滑动查看更多 ↑
同步的MOS诊断
消除诊断误判风险
12V锂电池系统,高边MOS负责连接电池(B+)和负载(P+),它对系统安全至关重要。业界现有诊断方案,如下右图,采用外置电阻分压方式异步检测MOS两端电压。这种方案无法同时刻采集MOS两端差分电压,且外部电阻网络引入额外功耗、误差和器件失效概率。
SA63654采用创新的差分架构,一路采集P+端与B+端的压差即MOSFET的压降;一路采集SRC端与P+端的压降即充电管的压降。SA63654的差分采样结构,不仅消除了单端采样带来的功耗问题和同步性问题,直接保证了精度;而且消除了两路单端异步采样带来的诊断误判风险;还可以节约MCU资源,降低MCU负荷。

*业界现有诊断方案

*矽力杰诊断方案
优异的休眠功耗
消除中途补电次数
SA63654在Sleep Idle模式下仅消耗40uA的电流;在Sleep Idle情况下,若开启1S周期性唤醒功能,则等效功耗为4.5mAx(8mS/1S)=36uA,其中 4.5mA为Active模式下工作电流,8mS为周期性唤醒后持续工作的时间。因此在1S周期性唤醒周期下的静态功耗为40+36=76uA,远小于市场竞品的静态功耗(>100uA)。
业界最小的封装
优化PCB布局和MOS散热
12V锂电池包容量有逐步减小的趋势,对应的PCB板空间也越来越小。SA63654采用40 pins的QFN封装,大小仅为5mm x 5mm,比市面竞品小一半;同时该封装带侧面爬锡,可提高焊接的可靠性和便利可视焊接检查。
完备的反向唤醒
避免电池过充/过放
为降低系统功耗,系统进入休眠时会将MCU下电,则AFE担负起监控功能。SA63654除具备常规的过压欠压/过温欠温/过流监控外,还具备了低电量告警功能、负载小电流变化唤醒和搭电唤醒。在AFE检测到故障后,通过WAKE引脚输出高电平去唤醒SBC;或者通过/FLT引脚输出低电平去唤醒MCU(若MCU没有下电)。因此SA63654具备了完善的休眠监控和休眠唤醒功能。

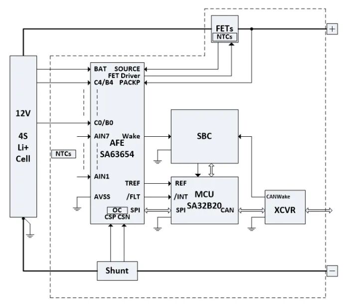
*系统应用框图
全部0条评论
快来发表一下你的评论吧 !