RF430FRL15xH NFC ISO 15693 Sensor Transponder:特性、应用与设计要点

电子说

1.4w人已加入

描述

RF430FRL15xH NFC ISO 15693 Sensor Transponder:特性、应用与设计要点

在当今的电子设备设计领域,NFC(近场通信)技术凭借其便捷性和高效性,在工业、医疗等众多领域得到了广泛应用。而德州仪器(TI)的RF430FRL15xH系列NFC ISO 15693传感器应答器,以其丰富的特性和出色的性能,成为了许多工程师的首选。本文将深入探讨RF430FRL15xH的详细信息,包括其特性、应用场景、引脚配置、电气参数以及使用过程中的注意事项。

文件下载:rf430frl152h.pdf

1. 设备概述

1.1 特性

  • 通信标准兼容:该系列应答器符合ISO/IEC 15693和ISO/IEC 18000 - 3(Mode 1)标准,确保了与各种NFC读写设备的兼容性。
  • 灵活的供电方式:支持电池供电或13.56 - MHz H - 场供电,可根据实际应用场景选择合适的供电模式,以实现最佳的性能和功耗平衡。
  • 高精度数据采集:内置14位Sigma - Delta模数转换器(ADC)和温度传感器,能够精确采集模拟信号和环境温度信息,为数据处理和分析提供可靠的基础。
  • 强大的存储能力:配备2KB的FRAM、4KB的SRAM和8KB的ROM,可用于存储程序代码、用户数据、校准和测量数据等,满足不同应用的数据存储需求。
  • 低功耗设计:MSP430™混合信号微控制器具有低功耗特性,在不同工作模式下的功耗表现出色。例如,在活动模式(AM)下,功耗仅为140 µA/MHz(1.5 V);在待机模式(LPM3)下,功耗低至16 µA。
  • 丰富的外设资源:拥有16位RISC架构、高达2 - MHz的CPU系统时钟、紧凑的时钟系统(包括4 - MHz高频时钟和256 - kHz内部低频时钟源)、16位Timer_A、eUSCI_B模块(支持3线和4线SPI以及I2C)、32位看门狗定时器(WDT_A)等,为系统设计提供了丰富的功能支持。

1.2 应用场景

  • 工业无线传感器:在工业自动化和监测领域,RF430FRL15xH可用于实时采集工业设备的运行状态、环境参数等信息,并通过NFC通信将数据传输到上位机进行分析和处理,实现设备的远程监控和故障诊断。
  • 医疗无线传感器:在医疗设备中,该应答器可用于监测患者的生命体征、药物剂量等信息,为医疗人员提供及时准确的数据支持,提高医疗服务的质量和效率。

1.3 功能描述

RF430FRL15xH是一款13.56 - MHz的应答器芯片,集成了可编程的16位MSP430™低功耗微控制器。它通过符合ISO/IEC 15693和ISO/IEC 18000 - 3标准的RFID接口以及SPI或I2C接口,实现了通信、参数设置和配置功能。内部温度传感器和14位ADC支持传感器测量,同时还可以通过SPI或I²C连接数字传感器,进一步扩展了系统的功能。此外,该芯片经过优化,可在完全无源(无电池)或单电池供电(半有源)模式下运行,有效延长了便携式和无线传感应用中的电池寿命。

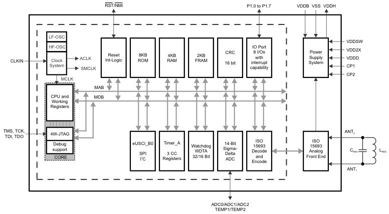
1.4 功能框图

RF430FRL15xH 从功能框图中可以清晰地看到各个模块之间的连接和协作关系,有助于工程师更好地理解芯片的工作原理和设计思路。

2. 设备比较

RF430FRL15xH系列包括RF430FRL152H、RF430FRL153H和RF430FRL154H三个型号,它们在FRAM、SRAM、Timer、ISO/IEC 15693 13.56 - MHz前端、eUSCI_B和SD14等方面存在一些差异。具体比较如下表所示: 设备型号 FRAM (KB) SRAM (KB) Timer ISO/IEC 15693 13.56 - MHz前端 eUSCI_B SD14
RF430FRL152H 2 4
RF430FRL153H 2 4
RF430FRL154H 2 4

工程师在选择具体型号时,应根据实际应用需求,综合考虑各个型号的特点和差异,以确保所选型号能够满足系统的功能和性能要求。

3. 引脚配置与功能

3.1 引脚图

RF430FRL15xH 该图展示了24引脚RGE封装的引脚分配情况,为硬件设计提供了直观的参考。

3.2 信号描述

端子名称 编号 I/O 描述
ANT1 1 I 天线输入1
ANT2 2 I 天线输入2
VDDsw 3 开关电源电压
VDDB 4 电池电源电压
CP1 5 电荷泵飞电容端子1
CP2 6 电荷泵飞电容端子2
VDD2x 7 电压倍增器输出
P1.3 SPI_STE 8 - 9 VO 通用数字I/O、SPI从机发送使能、Timer_A TA0 OUT2输出、ACLK输出(除以1、2、4、8、16或32)、Timer_A TA0时钟信号TA0CLK输入、通用数字I/O、SPI时钟
…… …… …… ……

详细的信号描述有助于工程师正确连接引脚,实现芯片与外部电路的有效通信和协作。

3.3 引脚复用

GPIO端口引脚具有复用功能,可与模拟外设和串行通信模块共享。引脚功能通过寄存器值和设备模式的组合进行选择。具体的端口引脚原理图和复用细节可参考文档的第6.7节。在设计过程中,工程师需要根据实际需求合理配置引脚复用功能,以充分发挥芯片的性能。

3.4 未使用引脚的连接

对于未使用的引脚,应按照以下建议进行连接: 引脚 电位 注释
TDI/TMS/TCK 开路 用于JTAG功能时
RST/NMI Vcc或Vss 连接10 - nF电容到GND/Vss
Px.0到Px.7 开路 设置为端口功能,输出方向
TDO 开路 惯例:将TDO端子保留为JTAG功能

正确处理未使用引脚可以避免潜在的干扰和故障,提高系统的稳定性和可靠性。

4. 规格参数

4.1 绝对最大额定值

参数 最小值 最大值 单位
施加在VDDB相对于VSS的电压(VAMR) - 0.3 1.65 V
施加在VANT相对于VSS的电压(VAMR) - 0.3 3.6 V
施加到任何引脚的电压(相对于VSS) - 0.3 VDDB + 0.3 V
任何设备引脚的二极管电流 ±2 mA
I/O端口并行电气和逻辑切换时的电流降额因子 0.9
存储温度范围,Tstg - 40 125 °C

超过绝对最大额定值可能会对设备造成永久性损坏,因此在设计和使用过程中必须严格遵守这些参数限制。

4.2 ESD额定值

静电放电(ESD)性能方面,人体模型(HBM)的ESD额定值为±2000 V(符合ANSI/ESDA/JEDEC JS001标准)。需要注意的是,低泄漏引脚ADC0的ESD耐受性降低至±500 V HBM。在实际应用中,应采取适当的ESD防护措施,以保护芯片免受静电损坏。

4.3 推荐工作条件

参数 最小值 标称值 最大值 单位
VDDB程序执行期间的电源电压 1.45 1.65 V
VSS电源电压(GND参考) 0 V
TA工作环境温度 0 70 °C
CVDDB VDDB上的电容 100 nF
CVDDSW VDDSW上的电容 2.2 µF
CFLY CP1和CP2之间的电荷泵电容 10 nF
CVDD2X VDD2x上的电容 100 nF
CVDDD VDDD上的电容 1 µF
CSVSS SVSS和VSS之间的电容 1 µF
fSYSTEM系统频率 2 MHz
fCLKIN外部时钟输入频率 32 kHz

遵循推荐工作条件可以确保芯片在最佳状态下运行,提高系统的性能和稳定性。

4.4 其他规格参数

文档还详细列出了谐振电路的推荐工作条件、有源模式和低功耗模式下的电源电流、数字I/O的电气参数、高频和低频振荡器的性能参数、从低功耗模式唤醒的时间、Timer_A的参数、eUSCI在不同模式下的工作条件等。这些参数对于系统的性能评估和优化具有重要意义,工程师在设计过程中应根据实际需求进行合理选择和调整。

5. 详细描述

5.1 CPU

MSP430 CPU采用16位RISC架构,对应用程序具有高度的透明性。除程序流指令外,所有操作均作为寄存器操作执行,并结合七种源操作数寻址模式和四种目的操作数寻址模式,有效减少了指令执行时间。CPU集成了16个寄存器,其中R0 - R3分别作为程序计数器、堆栈指针、状态寄存器和常量生成器,其余为通用寄存器。外设通过数据、地址和控制总线与CPU连接,可使用所有指令进行操作。

5.2 指令集

指令集由原始的51条指令组成,具有三种格式和七种地址模式。每条指令可对字和字节数据进行操作,为程序设计提供了丰富的选择。

5.3 工作模式

设备具有一种活动模式和三种软件可选的低功耗模式。中断事件可使设备从任何低功耗模式唤醒,处理请求后再返回低功耗模式。需要注意的是,如果至少有一个模块仍在MCLK、SMCLK或ACLK上请求时钟,则可能无法进入软件选择的低功耗模式,但CPU将保持关闭状态,直到发生中断。具体工作模式如下:

  • 活动模式(AM):CPU启用,所有时钟激活。
  • 低功耗模式0(LPM0):CPU禁用,MCLK禁用,SMCLK激活,ACLK激活,HFOSC关闭(如果未选择用于SMCLK或ACLK)。
  • 低功耗模式3(LPM3):CPU禁用,MCLK禁用,SMCLK禁用,ACLK激活,HFOSC关闭(如果未选择用于ACLK)。
  • 低功耗模式4(LPM4):CPU禁用,MCLK禁用,SMCLK禁用,ACLK禁用,HFOSC关闭,LFOSC开启。

5.4 中断向量地址

中断向量和上电起始地址位于地址范围0FFFFh - 0FFE0h内,其中0FFDFh - 0FFD0h保留用于引导代码签名。向量包含相应中断处理程序指令序列的16位地址。详细的中断源、标志和向量信息可参考文档中的表格,这对于中断处理程序的设计和调试非常重要。

5.5 内存

类型 正常模式 ROM开发模式
内存(FRAM)主:中断向量 总大小FRAM:2048B = 2KB,OFFFFh - OFFEOh
主:代码内存 银行A(1)(2):512B,OFFFFh - OFE00h;银行B(1):512B,OFDFFh - OFC00h;银行C(1):512B,OFBFFh - OFA00h;银行D:448B,OF9FFh - 0F840h
引导数据(TLV) 大小FRAM:64B,01A3Fh - 01A00h 64B,01A3Fh - 01A00h
应用ROM 大小ROM:7168B = 7KB,05FFFh - 04400h 3584 B = 3.5KB,051FFh - 04400h
ROM开发内存 大小SRAM: 3584B = 3.5KB,02BFFh - 01E00h
SRAM内存 大小SRAM:4096B = 4KB,02BFFh - 01C00h 512B = 0.5 KB,01DFFh - 01C00h
外设 大小:4096B = 4KB,00FFFh - 00000h 4096B = 4KB,00FFFh - 00000h

FRAM可通过JTAG端口或CPU在系统中进行编程,具有低功耗、超快速写入、非易失性、字节和字访问能力以及自动等待状态生成等特点。部分地址范围可通过设置SYSCNF寄存器中的相应位进行写保护。SRAM由8个扇区组成,每个扇区可完全断电以节省泄漏电流,但数据会丢失。应用ROM包含RF库、功能库、预定义应用固件和引导代码等部分,为系统的功能实现提供了重要支持。

5.6 外设

外设通过数据、地址和控制总线与CPU连接,可使用所有指令进行管理。具体外设包括:

  • 数字I/O(P1.x):有一个I/O端口P1,具有8个I/O线,所有单个I/O位可独立编程,支持各种输入、输出和中断条件组合,所有端口可配置可编程上拉或下拉电阻,具有边沿可选中断输入功能,支持所有指令对端口控制寄存器进行读写访问。
  • 多功能I/O端口P1:具有设备相关的复位值,具体信息可参考文档中的表格。
  • 振荡器和系统时钟:时钟系统由Compact Clock System(CCS)模块支持,包括内部可调节的256 - kHz电流控制低频振荡器(LFOSC)和内部4 - MHz电流控制高频振荡器(HFOSC)。CCS模块可在不到1 ms的时间内快速启动振荡器,提供辅助时钟(ACLK)、主时钟(MCLK)和子主时钟(SMCLK)。
  • 紧凑型系统模块(C - SYS_A):处理设备内的许多系统功能,包括上电复位和上电清除处理、NMI源选择和管理、复位中断向量生成以及配置管理等,
打开APP阅读更多精彩内容
声明:本文内容及配图由入驻作者撰写或者入驻合作网站授权转载。文章观点仅代表作者本人,不代表电子发烧友网立场。文章及其配图仅供工程师学习之用,如有内容侵权或者其他违规问题,请联系本站处理。 举报投诉

全部0条评论

快来发表一下你的评论吧 !

×
20
完善资料,
赚取积分