TPA2051D3 具有 SmartGain™ 单声道 D 类放大器和 DirectPath™ 耳机放大器的 2.9W 3 输入音频子系统

KANA 发表于 2018-11-02 17:58:05

数据: 2.9 W/Channel Mono Class-D Audio Subsystem with DirectPath™ Headphone Amplifier 数据表

描述

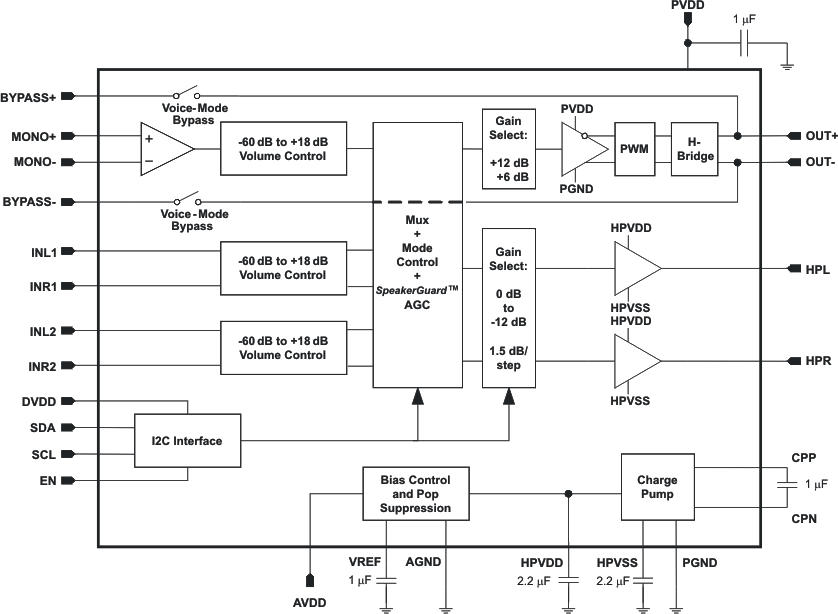
TPA2051D3是一个带有单声道D类功率放大器,立体声DirectPath耳机放大器和旁路开关的音频子系统。 DirectPath耳机放大器无需外部隔直电阻输出电容。内置电荷泵为耳机放大器产生负电源电压,允许输出端产生0 V直流偏置。 DirectPath耳机放大器从4.2 V电源驱动器驱动25 mW至16 扬声器。

子系统包括三个输入:差分单声道输入和两个立体声单端(SE)输入。立体声输入也可配置为差分单声道输入。每个输入通道都有一个独立的音量控制。七种操作模式提供输入到输出组合和关闭控制。工作模式和音量电平由1.8 V兼容的I 2 C接口控制。

TPA2051D3使用SpeakerGuard TM 技术来防止输出削波失真和扬声器和耳机的电量过大。

D类放大器包括旁路模式。这允许基带IC(BB)直接驱动8 扬声器。这对于仅使用语音模式的双模扬声器电话非常有用。

D类放大器使用4.9 mA,DirectPath放大器使用4.1 mA的典型静态电流。关断时总供电电流降至1μA以下。

TPA2051D3采用25焊球2,16 mm×2,11 mm,0.4 mm间距WCSP,高度小于0.8 mm 。

特性

  • 单声道D类放大器:730 mW到8 3.6 V电源(1%THD)
  • D类旁路开关
  • DirectPath立体声耳机放大器
    • 无输出电容器必需
  • SpeakerGuard自动增益控制(AGC)
  • 一个差分单声道和两个立体声单端输入
  • 3:1具有模式控制的输入MUX
  • 两个输入通道的32步音量控制
  • 所有输入的独立音量控制
  • 耳机和D类放大器的独立关机
  • I 2 C接口
  • 短路和热过载保护
  • 工作电压范围为2.5 V至5.5 V
  • 25球2,16 mm×2,11 mm,0.4 mm间距WCSP
  • 应用
    • 智能手机/手机
    • Portable媒体播放器
    • 便携式游戏
    • 多媒体平台

参数 与其它产品相比 扬声器放大器

 
Audio Input Type
Architecture
Speaker Channels (Max)
Power Stage Supply (Min) (V)
Power Stage Supply (Max) (V)
Output Power (W)
Load (Min) (ohms)
SNR (dB)
THD + N @ 1 kHz (%)
Iq (Typ) (mA)
Control Interface
Closed/Open Loop
Analog Supply (V) (Min)
Analog Supply (V) (Max)
PSRR (dB)
Operating Temperature Range (C)
Rating
TPA2051D3 TPA2054D4A
Analog Input     Analog Input    
Class-D     Class-D    
Mono     Stereo    
2.5     2.5    
5.5     5.5    
2.9     2.4    
8     8    
97     90    
0.04     0.18    
6.3      
I2C     I2C    
Open     Open    
2.5     2.5    
5.5     5.5    
75     78.5    
-40 to 85     -40 to 85    
Catalog     Catalog    

方框图 (1)

技术文档

数据手册(1)

收藏

相关话题
文章来源栏目
+加入圈子

评论(0)

加载更多评论

参与评论

分享到

QQ空间 QQ好友 微博
取消