TAS5756M 具有 3 波段动态范围控制、参量均衡器、超低音输出的 TAS5756M 20 W 立体声放大器

KANA 发表于 2018-11-02 17:57:06

数据: TAS5756M Digital Input, Closed-Loop Class-D Amplifier With Processing 数据表

描述

TAS5756M器件是一款高性能立体声闭环放大器,集成了音频处理器和架构。为了从数字转换为模拟,该器件采用具有Burr-Brown混合信号传统的高性能DAC。它只需要两个电源;一个用于低压电路的DVDD和一个用于高压电路的PVDD。它由使用标准I 2 C通信的软件控制端口控制。在该系列中,TAS5756M使用传统的BD调制,确保低失真特性。 TAS5754M采用1SPW调制来降低输出纹波电流,降低了略高的失真。

独特的HybridFlow架构允许系统设计人员从多个可配置的DSP程序中选择,这些DSP程序专门设计用于广播终端设备,如蓝牙(BT)扬声器,条形音箱,扩展坞和低音炮。这种架构结合了完全可编程器件的灵活性和快速下载时间以及固定功能ROM器件的易用性。

在90mΩr DS中提供了热性能和器件成本的最佳组合(on)输出MOSFET。此外,非传统增强型48引脚HTSSOP可在现代消费电子设备的高温环境温度下提供出色的操作。

对于所有可用封装,请参见数据表末尾的可订购附录。有关通过HybridFlow库提供的音频处理选项的信息,请参阅SLAU577。已在TAS5756MDCAEVM上进行了测试。

特性

  • 灵活的音频I /O配置
    • 支持I 2 S,TDM,LJ,RJ Digital输入
    • 8 kHz至192 kHz采样率支持
    • 立体桥绑定负载(BTL)或单并行桥接负载(PBTL)操作
    • BD AmplifierModulation
    • 支持3线数字音频接口(无需MCLK)
  • 高性能闭环架构(PVDD = 12V,R SPK < /sub> =8Ω,SPK_GAIN = 20 dBV)
    • 空闲通道噪声=56μVrms(A-Wtd)
    • THD + N = 0.006%(1 W,1 kHz)
    • SNR = 104 A-Wtd(参考THD + N = 1%)
  • PurePath HybridFlow处理架构
    • 几个可配置的MiniDSPPrograms(称为HybridFlows)
    • 下载时间&lt; 100 ms(典型值)
    • 高级音频处理算法
  • 通信功能
    • 通过I 2 CPort进行软件模式控制
    • 两个地址选择引脚 - 最多4个设备
    < /li>
  • 鲁棒性和可靠性特征
    • 时钟误差,直流和短路保护
    • 过温和过流保护

参数 与其它产品相比 扬声器放大器

 
Audio Input Type
Architecture
Speaker Channels (Max)
Power Stage Supply (Min) (V)
Power Stage Supply (Max) (V)
Output Power (W)
Load (Min) (ohms)
SNR (dB)
THD + N @ 1 kHz (%)
Iq (Typ) (mA)
Control Interface
Closed/Open Loop
Analog Supply (V) (Min)
Analog Supply (V) (Max)
Power to Parallel Bridge Tied Load (Max) (W)
Sampling Rate (Max) (kHz)
PSRR (dB)
Operating Temperature Range (C)
Rating
TAS5756M TAS5733L TAS5751M TAS5754M TAS5760M TAS5766M TAS5768M TAS5780M TAS5805M
Digital Input     Digital Input     Digital Input     Digital Input     Digital Input     Digital Input     Digital Input     Digital Input     Digital Input    
Class-D     Class-D     Class-D     Class-D     Class-D     Class-D     Class-D     Class-D     Class-D    
Stereo     Stereo     Stereo     Stereo     Stereo     Stereo     Stereo     Stereo     Stereo    
4.5     8     8     4.5     4.5     4.5     4.5     4.5     4.5    
26.4     16.5     26.4     26.4     26.4     26.4     26.4     26.4     26.4    
40     12     25     40     55     50     50     40     23    
2     4     4     2     2     1     1     3     4    
104     104     106     103     100     106     106     103     107    
0.006     0.25     0.03     0.007     0.03     0.02     0.02     0.2     0.03    
  23     23         20     20       16.5    
Software     Software     Software     Software     Hardware
Software    
Software     Software     Software     I2C    
Closed     Closed     Open     Closed     Closed     Closed     Closed     Closed     Closed    
4.5     3     3     2.9     4.5     4.5     4.5     4.5     4.5    
26.4     3.6     3.6     3.63     26.4     26.4     26.4     26.4     26.4    
75     50     65     75     43.2     40     40     40     45    
192     48     48     192     96     48     48     96     96    
            8        
-25 to 85     0 to 85     0 to 85     -25 to 85     -25 to 85     -25 to 85     -25 to 85     -25 to 85     -25 to 85    
Catalog     Catalog     Catalog     Catalog     Catalog     Catalog     Catalog     Catalog     Catalog    

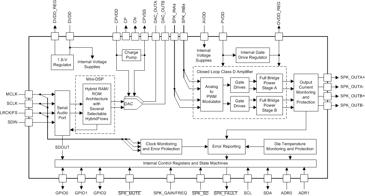
方框图 (1)

技术文档

数据手册(1)

收藏

相关话题
文章来源栏目
+加入圈子

评论(0)

加载更多评论

参与评论

分享到

QQ空间 QQ好友 微博
取消