TAS5782M 具有 96kHz 灵活处理能力的 30W 数字输入立体声闭环 D 类放大器

KANA 发表于 2018-11-02 17:57:06

数据: TAS5782M 采用 96kHz 处理架构的 30W 立体声 D 类放大器 数据表 (Rev. A)

描述

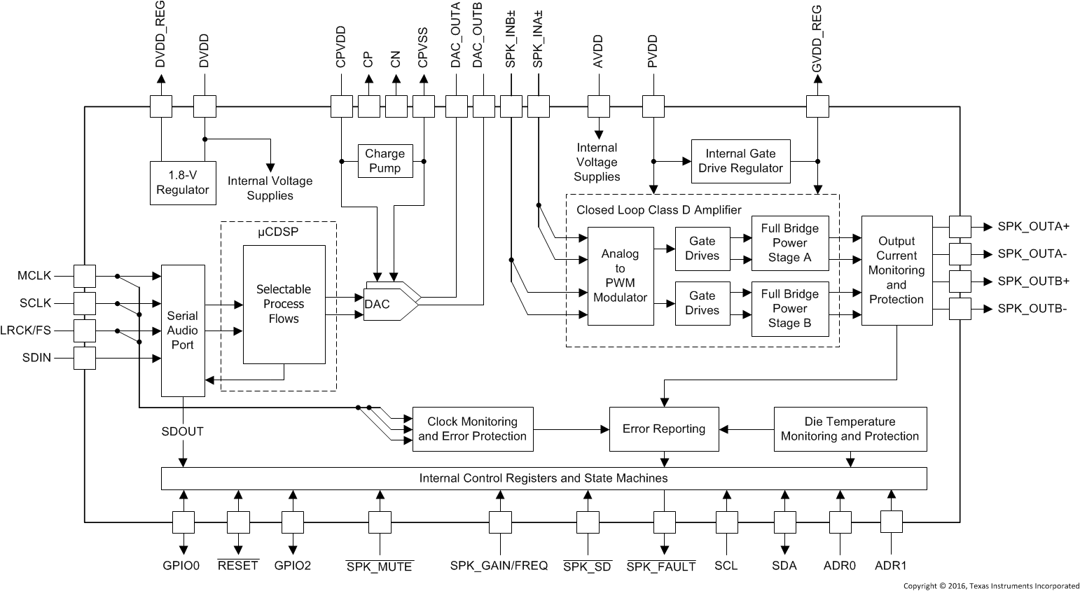
TAS5782M器件是一款高性能,立体声闭环D类放大器,集成采用96kHz架构的音频处理器。为实现数模转换,该器件采用了应用Burr-Brown™技术的高性能数模转换器(DAC)该器件仅需两个电源:一个是用于低压电路的DVDD,另一个是用于高压电路的PVDD。它采用标准的I < sup> 2

输出金属氧化物半导体场效应应晶体管(MOSFET)的90mΩr DS(on)兼顾散热性能与器件成本,二者相得益彰。此外,该器件采用耐热增强型48引脚薄型小外形尺寸(TSSOP),在现代消费类电子器件的较高工作环境温度下展现出优异的性能。

特性

  • 灵活的音频I /O配置
    • 支持I 2 S,TDM,LJ和RJ数字输入
    • 支持采样速率
    • BD放大器调制
    • 支持三线制数字音频接口(无需MCLK)
  • 高性能闭环架构(PVDD = 12V,R SPK =8Ω,SPK_GAIN = 20dB)
    • 闭环=更少的组件数/更小的解决方案尺寸
    • 空闲声道噪声=62μVRMS(A-Wtd)
    • 总谐波失真+噪声(THD + N)= 0.2%(1W /1kHz)
    • 信噪比(SNR)= 100dB A-Wtd(以THD + N = 1%为基准)
  • 灵活处理特性
    • 15个BiQuad /SmartEQ
    • 适用于X-Over /EQ的2 x 5个BiQuad
    • 三波段高级动态范围压缩(DRC)+自动增益限制(AGL)
    • < li>动态均衡和SmartBass
    • 声场定位技术(SFS)
    • 96kHz处理器采样
  • 通信特性
    • 通过I 2 C端口实现软件模式控制
    • 两个地址选择引脚 - 多达4器件
  • 兼具稳定性和可靠性
    • 时钟误差,直流和短路保护
    • 过热和过流保护

所有商标均为其各自所有者的财产。

参数 与其它产品相比 扬声器放大器

 
Audio Input Type
Architecture
Speaker Channels (Max)
Power Stage Supply (Min) (V)
Power Stage Supply (Max) (V)
Output Power (W)
Load (Min) (ohms)
SNR (dB)
THD + N @ 1 kHz (%)
Iq (Typ) (mA)
Control Interface
Closed/Open Loop
Analog Supply (V) (Min)
Analog Supply (V) (Max)
Power to Parallel Bridge Tied Load (Max) (W)
Sampling Rate (Max) (kHz)
PSRR (dB)
Operating Temperature Range (C)
Rating
TAS5782M TAS3251 TAS5751M TAS5825M
Digital Input     Digital Input     Digital Input     Digital Input    
Class-D     Class-D     Class-D     Class-D    
Stereo     Stereo     Stereo     Stereo    
4.5     12     8     4.5    
26.4     38     26.4     26.4    
40     175     25     40    
3     1     4     3.2    
103     108     106     107    
0.2     0.01     0.03     0.04    
    23      
Software     Hardware     Software     Software    
Closed     Closed     Open     Closed    
4.5     10.8     3     4.5    
26.4     13.2     3.6     26.4    
40     350     65     80    
96     96     48     192    
  60        
-25 to 85     0 to 70     0 to 85     -25 to 85    
Catalog     Catalog     Catalog     Catalog    

方框图 (1)

技术文档

数据手册(1)

收藏

相关话题
文章来源栏目
+加入圈子

评论(0)

加载更多评论

参与评论

分享到

QQ空间 QQ好友 微博
取消