优势和特点
- 模拟与数字内核电压:1.8 V
- 串行数据链路、LVDS输出范围缩小
- 相关双采样器(CDS),增益−3、0、+3、+6 dB
- 6 dB至42 dB、10位可变增益放大器(VGA)
- 14位、65 MHz模数转换器
- 具有可变电平控制功能的黑色电平箝位
- 完整的片内时序发生器
- Precision Timing内核,分辨率为240 ps
(65 MHz) - 片内3 V水平和RG驱动器
- 6 mm × 6 mm 84引脚CSP_BGA封装
产品详情
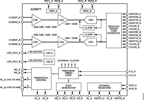
AD9977是一款适合高速数码摄像机应用的高度集成双通道CCD信号处理器。每个通道的额定像素速率最高达65 MHz,由带模数转换功能的完整模拟前端和可编程时序驱动器组成。在65 MHz下工作时,Precision Timing 内核允许以240 ps的分辨率调整高速时钟。AD9977还内置一个范围缩小的LVDS接口,用于双通道数据输出。
每个模拟前端均包括黑色电平箝位、CDS、VGA和一个65 MSPS、14位模数转换器。时序驱动器为RG、HL和H1至H4提供高速CCD时钟驱动器。采用三线式串行接口对操作进行编程。
AD9977采用节省空间的6 mm × 6 mm、84引脚CSP_BGA封装,额定工作温度范围为-25℃至+85°C。
应用
专业高清电视摄像机专业、高端数码相机广播相机工业高速相机
方框图
