电子说
设计人员在设计运动传感器时面临着持续的竞争压力。传感器不仅要体积更小、更精确,并且还要在智能建筑、工厂自动化、交通运输和无人机等多种行业应用中具有更远的检测范围。虽然毫米波 (mmWave) 技术正逐渐成为一种极具吸引力的运动检测选择,但不熟悉毫米波技术的设计人员发现,底层的雷达前端以及高性能信号链颇具挑战性。
为解决这些问题,市面上现已推出毫米波器件及相关开发套件,使设计人员能够快速部署复杂精确的运动检测系统。
本文将讨论运动检测系统日益重要的作用,并解释为什么毫米波是满足范围和精度需求的好选择。然后将介绍一款合适的套件,并展示如何开始使用该套件。
运动检测日益重要的作用
运动检测功能在很多应用中已变得越来越重要。除了为智能建筑和家居产品提供便利功能以外,运动检测还可为汽车和工业应用提供关键的安全功能。在越来越多的应用中,扩大检测范围以及提高检测精度变得至关重要,以往基于无源红外传感器或飞行时间系统的传统方法已不再适用。
因此,调频连续波 (FMCW) 毫米波雷达技术受到越来越多的关注。此技术使用短波长信号,能够以亚毫米的精度检测目标。并且,还能穿透塑料、石膏板和衣物等材料,同时在下雨、起雾、灰尘和下雪等恶劣的环境条件下,还能保持其高性能。
紧密的毫米波能量束可以进行聚焦和操纵,从而提供高度精确的目标检测,并且可在多个目标彼此靠近移动时对其进行跟踪。
毫米波技术的工作原理
虽然毫米波雷达信号处理的细节超出了本文的讨论范围,但检测原理基于一个熟悉的概念,其中涉及目标的能量反射。在线性 FMCW 雷达中,这种能量是一种称为“啁啾”的毫米波音调,其频率随时间呈线性变化。雷达系统产生并发射啁啾之后,会检测顺发射方向目标反射的啁啾信号并将其传递给混频器。混频器会将 RX 和 TX 信号组合在一起,产生中频 (IF) 信号。
啁啾传输与反射信号检测之间的延迟,可用于计算雷达系统天线与目标之间的距离。如果雷达系统在一个观测窗口或帧中产生多个啁啾,则可通过测量相应反射的啁啾中的相位差来确定某个目标的速度。如果使用多个接收器,雷达系统还可确定雷达系统与目标之间的相对到达角 (AoA)。通过使用这些相同的原理和更复杂的计算,高性能雷达系统可以跟踪以不同速度和轨迹移动的多个目标。
若要设计能够执行这些操作的系统,则需结合射频、模拟和数字子系统(图 1)。作为系统输出信号链的组成部分,射频信号合成器可产生用于传输的啁啾。在系统输入信号链的第一级,射频混频器可将产生的啁啾与反射的啁啾结合在一起,从而产生 IF 信号。在后续的模拟级中,低通滤波器和模数转换器 (ADC) 可产生数字数据流,以便利用快速傅里叶变换 (FFT) 和其他算法进行信号处理。

图 1:典型的毫米波调频连续波 (FMCW) 雷达设计依靠紧密集成的射频、模拟和数字子系统,来传输精确控制的能量突发(称为啁啾),并处理反射的信号,从而解析靶场目标的距离、速度和相对角度。(图片来源:Texas Instruments)
尽管这种基本架构适用于典型的 FMCW 雷达系统,但其设计细节取决于最大检测范围、范围分辨率,角度分辨率和其他应用级要求。例如,最大检测范围与 IF 成正比,与频率斜率成反比。因此,对于诸如汽车自适应巡航控制之类远范围应用,设计既要能够支持高 IF,又要能够产生具有快速扫频时间的啁啾。
如果设计人员希望优化雷达性能,还必须处理许多设计特性,包括 TX 输出功率、RX 灵敏度和噪声系数、天线 TX 和 RX 增益外形几何以及反射信号的信噪比。此外,每个应用都有独特的因素组合,这为开发人员带来了一系列相互依存的复杂要求。
Texas Instruments 依托其毫米波平台,可帮助设计人员摆脱雷达系统设计和配置的诸多挑战。
单芯片毫米波解决方案
Texas Instruments 的毫米波解决方案结合了毫米波 IC 和全面的软件环境,可极大地简化基于毫米波的运动检测器应用的实现。工业毫米波器件(包括 Texas Instruments 的 IWR1443 和 IWR1642)集成了所需的全套射频、模拟和数字子系统,用来产生、传输、接收和处理 FMCW 雷达信号。这些器件将类似的射频/模拟前端以及复杂的数字子系统结合在一起(图 2)。在这种前端架构中,这些器件集成了一个完整的 FMCW 76 - 81 千兆赫 (GHz) 频段收发器子系统,具有四个专用 RX 信号路径和多个 TX 通道(IWR1443 有三个,IWR1642 有两个)。

图 2:Texas Instruments 的 IWR1443 和 IWR1642 毫米波器件具有类似的前端架构,可提供四个独立的 RX 通道和多个 TX 通道(IWR1443 有三个通道,IWR1642 有两个通道)。(图片来源:Digi-Key Electronics,使用 Texas Instruments 提供的原始资料)
对于其数字子系统,这两款器件都集成了 Arm® Cortex®-R4F 处理器内核,该内核作为主控制系统中的设备主机,负责设备外设、固件更新、启动和其他主机功能。该主控制系统使用集成的 ROM 和程序/数据存储器,主要作用是使 TI 毫米波器件能够在更大的系统设计中自主运行。
对于其集成的雷达处理子系统,两款器件均采用基于 128 位、200 兆赫 (MHz) 总线构建的类似架构,可在共享的存储器资源(包括 ADC 缓冲器、雷达 L3 数据存储器、缓存和存储器)之间提供高速数据传输,从而实现与主控制系统主机的通信。连接到同一总线的增强型 DMA (EDMA) 模块可提供独立于处理器的传输,从而加快通过各级处理管线进行数据传输。
对于其雷达信号处理子系统,IWR1443 和 IWR1642 使用了两种不同的方法。IWR1443 配有一个专门的加速器,用于加速 FFT 计算和雷达信号处理所需的其他计算(图 3)。此外,独立的 Arm Cortex-R4F 处理器(雷达系统)可作为用于前端配置、雷达子系统控制和校准的专用主机。

图 3:除射频和模拟前端外,Texas Instruments 的 IWR1443 毫米波器件还集成了一个数字子系统,其中包括一个基于 Arm Cortex-R4F 的主控制系统、一个基于 Arm Cortex-R4F 的独立雷达系统,以及一个用于加速雷达信号处理的 FFT 加速器。(图片来源:Texas Instruments)
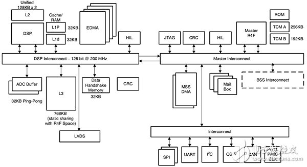
IWR1642 集成了 Texas Instruments 的 C674x 数字信号处理器 (DSP) 内核(图 4),作为其雷达信号处理器。IWR1642 DSP 专为 FMCW 信号处理而设计,采用 600 MHz 运算时钟频率,支持 32 KB 的 L1 程序 (L1P) 和数据 (L1d) 缓存,以及可加速 DSP 运算的 256 KB 统一程序/数据 L2 缓存。如有必要,开发人员可以严格将 IWR1642 用作雷达信号处理器。

图 4:除射频/模拟前端外,Texas Instruments 的 IWR1443 毫米波器件还集成了一个数字子系统,包括一个用作主控处理器的 Arm Cortex-R4F ,以及一个用于处理雷达信号的 Texas Instruments C674x 数字信号处理 (DSP) 内核。(图片来源:Texas Instruments)
由于主控制和雷达子系统配备了硬件在环 (HIL) 模块,因此能够让开发人员使用器件的数据修改模块 (DMM) 输入端口来绕过射频前端,并将原始雷达数据加载到 IWR1642 中进行信号处理。
雷达信号处理链
尽管 IWR1443 的硬件加速器或 IWR1642 的 C674x DSP 内核的选择取决于每个应用的独特要求,但所选器件在应用中的运行对大多数开发人员来说基本上是透明的。在 Texas Instruments 的毫米波解决方案架构中,TI 毫米波软件环境可以使用任一器件的资源来执行功能模块(称为数据处理单元 (DPU)),这些模块负责雷达信号处理中通常使用的单个数据转换。在 TI 的毫米波 DPU 中,核心功能包括:
范围 FFT:此功能可在活动帧内的数据采集期间读取啁啾数据,以产生用于范围计算的一维 FFT,并生成雷达数据立方体。这是存储在专用 L3 雷达数据存储器中的范围、啁啾和天线数据的三维 (3D) 矩阵。
静态杂波消除:此功能可从样本集中减去样本的平均值。
多普勒 FFT:此功能可执行 2D FFT 计算,以细化帧之间的雷达立方体数据,并生成雷达目标检测算法使用的检测矩阵。
CFAR:此功能执行通常用于目标检测的恒虚警率 (CFAR) 算法。
CFAR 单元平均:此功能结合了 AoA 与 CFAR 模块,可执行雷达系统常用的 CFAR 单元平均 (CFAR-CA) 算法,以检测噪声背景下的目标。
用于聚类、群组追踪和分类的其他 DPU 可以为雷达信号数据的进一步应用提供具体改进。
利用 TI 的毫米波软件开发套件 (SDK),开发人员使用数据路径管理器 (DPM) 应用编程接口 (API) 调用,可将不同的 DPU 结合到所需的检测(或数据)处理链 (DPC) 中。例如,实现目标检测的 DPC(图 5)仅需几个基本调用即可,如 Texas Instruments 的毫米波 SDK 发行版中包含的示例代码所示(清单 1)。

图 5:典型的目标检测处理链组合了单独的数据处理单元 (DPU),该单元可执行雷达信号处理功能,例如在数据采集期间进行范围 FFT 计算,以及在帧间期间进行其他数据转换。(图片来源:Texas Instruments)
副本 for(i = 0; i < RL_MAX_SUBFRAMES; i++) { subFrmObj = &objDetObj->subFrameObj[i]; subFrmObj->dpuRangeObj = DPU_RangeProcHWA_init(&rangeInitParams, errCode); if (*errCode != 0) { goto exit; } subFrmObj->dpuStaticClutterObj = DPU_StaticClutterProc_init(errCode); if (*errCode != 0) { goto exit; } subFrmObj->dpuCFARCAObj = DPU_CFARCAProcHWA_init(&cfarInitParams, errCode); if (*errCode != 0) { goto exit; } subFrmObj->dpuDopplerObj = DPU_DopplerProcHWA_init(&dopplerInitParams, errCode); if (*errCode != 0) { goto exit; } subFrmObj->dpuAoAObj = DPU_AoAProcHWA_init(&aoaInitParams, errCode); if (*errCode != 0) { goto exit; } }
清单 1:包含在 Texas Instruments 毫米波 SDK 发行版中的示例代码(如这段代码),显示了通过向 ObjDetObj 结构添加一组 DPU 来创建 DPC 的基本设计模式。(代码来源:Texas Instruments)
分层软件环境中的软件服务使用 DSP 子系统 (DSS)、主子系统 (MSS) 和加速器(或它们的组合)来自动实现 DPU(图 6)。在应用层面,开发人员可使用毫米波 API 从完全配置的 DPC 访问 DPU 结果,或通过 mmWaveLink API 直接访问毫米波前端。

图 6:Texas Instruments 的毫米波环境提供多个应用编程接口 (API),这些接口可隐藏雷达系统操作的细节,从而简化了运动检测应用的开发。(图片来源:Texas Instruments)
对于特定应用,mmWaveLink 提供的其中一项关键服务是配置内部雷达定时引擎,该引擎可生成 FMCW 啁啾和啁啾帧。如前所述,啁啾和啁啾帧的特性决定了目标的检测性能,但在实际设计中,选择某些性能设置会对其他设置产生限制。
例如,由于最大检测范围与频率斜率成反比,所以需要远范围检测的开发人员需要最大限度减少频率斜率。这样做会影响啁啾扫频的带宽,进而导致分辨率降低,原因是检测范围分辨率与带宽特征成比例。实际上,经过优化的啁啾和啁啾帧操作规范是雷达设计中的关键因素,需要开发人员平衡许多啁啾特性(图 7)。

图 7:目标检测范围和分辨率主要取决于所传输啁啾的特征,需要开发人员仔细优化啁啾发生器配置中的设置。(图片来源:Texas Instruments)
除了提供用于评估啁啾设置的在线毫米波检测估算器工具外,Texas Instruments 还提供一个庞大的数据库,数据库中带有针对其毫米波传感器工业工具箱中特定用例所推荐的啁啾配置。开发人员可以找到包括高分辨率手势识别、远程交通监控等应用在内的参考设计和示例代码。基于毫米波 BoosterPacks 构建的样例应用,可使开发人员快速评估毫米波性能,并针对自己的定制应用来扩展参考设计。例如,若要评估手势控制,开发人员可将 IWR1443 BoosterPack (IWR1443BOOST) 评估模块 (EVM) 连接到其 Windows PC 上的 USB 接口,上传预先构建的固件,然后探索复杂手势(例如手指快速转动)的检测(图 8)。

全部0条评论
快来发表一下你的评论吧 !