文章来源:学习那些事
原文作者:前路漫漫
本文介绍了半导体封装框架的外部及封装体设计规范。
概述
封装框架的外部结构设计,核心包含联筋(Dambar)与假脚(False leads)两大关键部分,以下将针对各设计要素及技术要求展开详细说明。
联筋(Dambar)设计规范
联筋的结构形式可参考图1所示。在封装工艺中,联筋承担着双重核心作用:一是在塑封工序中有效阻隔塑封料的无序流动,二是在切筋工艺实施前维持外引脚的结构形态稳定性。从设计参数来看,联筋的最小宽度通常需设定为框架厚度的1.2倍,若联筋尺寸过薄,极易引发塑封料溢出现象,影响封装质量。此外,封装体边缘至联筋区域的最小间距需控制在0.127mm,该参数的确定主要基于切筋工序中冲压模具的实际加工能力限制。

假脚(False leads)设计规范
假脚的典型设计方案如图2所示。其设计初衷是为引脚提供更可靠的支撑,尤其在需要精确定位引脚的场景中,能在切筋成型工序(特别是成型阶段)发挥关键作用——当最后一个功能引脚完成分离成型时,可有效维持封装体的结构稳定性。值得注意的是,若采用一体成型切割工艺,假脚通常不具备实际功能,反而会增加框架材料消耗及制造成本,因此假脚属于可选设计要素,而非强制要求。

外框架其他设计要求
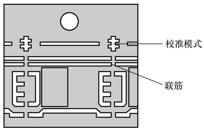
针对多排框架这类特殊结构,主联筋的宽度设计需重点考量划片工序所用金刚刀的厚度参数,通常应使联筋宽度小于金刚刀厚度。这是因为部分封装体采用金刚刀片切割而非模具冲压的分离方式,因此在设计中预留专用切割道,并设置便于图像识别的花纹或标记,对后续刀片分离工序中设备的编程校准至关重要,具体结构可参考图3。

封装体设计规范
封装体的核心构成材料为金属与塑封料,二者的体积配比是设计关键。理想状态下,金属材料的体积占比应不超过封装体总体积的50%。若金属含量超出该阈值,必须深入分析材料间的应力分布特性,以及在恒定温度与交变温度环境下的可靠性表现。这是因为多数半导体器件在PCB板安装过程中,需承受200~300℃的高温回流焊,而不同材料的热膨胀系数存在差异,易在结合部位产生应力集中,导致封装体出现分层、裂纹、爆米花等缺陷,严重时会丧失对芯片的保护功能(关于封装质量问题的详细分析可以参考之前的文章)。
因此,为保障封装体设计的可靠性与稳定性,当出现金属含量占比超标(超过50%)、采用未经验证的封装结构、使用新型塑封料配方或框架基板材料变更等情况时,设计者需重点掌握以下内容:
对于无参考依据的全新封装体设计,必须通过有限元建模、模流仿真及力学仿真(重点针对切筋成型工艺),全面掌握结构力学特性,并将分析结果纳入设计DFMEA文件。
需系统掌握芯片、内互联导线、装片材料、框架及塑封料的冯·米塞斯应力(Von Mises Stress)分布情况,确保封装体设计参数不超过材料的极限应力阈值。
完成框架设计相关的受力分析,尤其是切筋成型工艺中的受力状态研究,将分析结果及改进措施同步纳入设计DFMEA文件。
(一)封装体倾斜角设计
封装体的倾斜角(Draft Angle)设计与脱模工艺直接相关,其最小设计值可参考图4,具体规范如下:

全包封塑封体若采用型腔弹出针(cavity ejector pin)辅助脱模,倾斜角一般设计为5°;
全包封塑封体未使用型腔弹出针时,倾斜角通常控制在7°~10°;
半包封塑封体未使用型腔弹出针时,倾斜角标准值为7°。
(二)封装体倒角半径设计
封装体倒角半径的设计需结合封装形式及模具加工工艺:全包封结构的典型倒角半径为0.05~0.127mm;采用电火花加工或精磨工艺制造的模具,其对应封装体的倒角半径应控制在0.13~0.17mm。
(三)外引脚抬起高度(Stand-off)设计
外引脚抬起高度需符合JEDEC与EIAJ标准要求(结构示意如图5)。对于无标准参考的全新封装体,不同类型的高度参数规范如下:薄型封装(Low Profile)为0.0127~0.10mm;高型封装(High Profile)为0.127~0.254mm;多排封装类型则为0.00~0.05mm。

(四)引脚肩部长度(Lead Shoulder Length)设计
引脚肩部长度的设计参数需结合成型工艺及封装类型确定(如图6所示),具体要求如下:

成型过程中使用垫块时,其典型值取(框架厚度+引脚电镀层厚度)的1/2;
无垫块直接成型时,封装体本体成型误差通常在0~0.025mm。需明确的是,引脚肩部长度指封装体边缘至引脚弯曲圆弧中心的距离,该平坦区域处于首次与二次弯曲的中间位置,可通过相机视觉系统清晰识别;
多排封装结构中,引脚肩部长度定义为封装体边缘至引脚边缘的距离,一般取值0.075~0.125mm;
引脚弯曲半径(BR)的最小值为(框架厚度+引脚电镀层最大厚度)平方根的1/2,即BR=1/2×√(框架厚度+引脚电镀层最大厚度)。
(五)引脚接触长度与角度设计
引脚接触长度(Foot Landing)的标准设计值为0.10mm,具体结构如图7所示。引脚角度(Lead Angle)的设计规范为:相对垂直方向的角度范围为0°~10°,引脚端部相对水平方向的角度范围为0°~5°,详细示意如图8。

全部0条评论
快来发表一下你的评论吧 !