搜索内容
登录
数据转换器IC
关注
0
人关注
模拟数字接口技术方面,数字电子技术的进步已经在许多层面上推动了该技术的发展并提供了有效的支持。
ADAS1126 32通道、24位电流数字ADC
优势和特点 32通道、低电平电流数字转换器 最高24位分辨率 最高19.7 kSPS(50.7 μs积分时间) 同步采样 超低噪声(低至0.4 fC
ADAS1131 256通道、24位电流数字ADC模块
优势和特点 256通道电流至数字转换器模块 最高24位分辨率 可变积分时间 最短的积分时间:11.656 kSPS(86 μs,20位分辨率) 低功耗:
AD5592R 内置片内基准电压源和SPI接口的8通道、12位、可配置ADC/DAC
优势和特点 下载AD5592R-1-KGD数据手册。还提供已知良好的裸片并完全保证达到数据手册规格性能。 可配置的8通道ADC/DAC/GPIO 可配置为下列
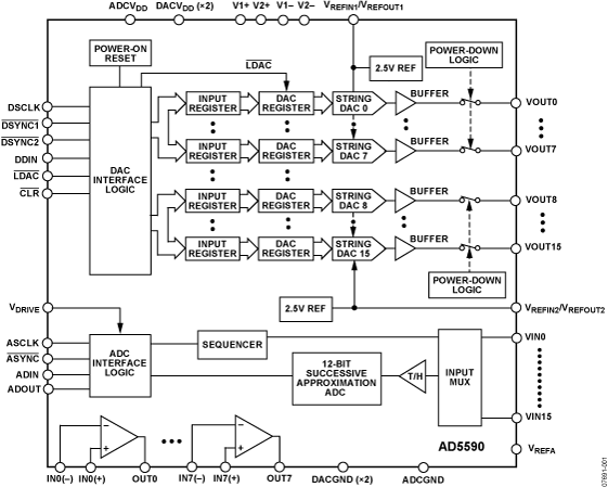
AD5590 16输入/16输出模拟I/O端口,集成放大器
优势和特点 12位逐次逼近型ADC 16路输入,内置序列器 高吞吐量:1 MSPS 宽输入带宽:70 dB SNR fIN = 50 kHz 16路输出,内
AD7147 CapTouch™单电极电容式传感器专用可编程控制器
优势和特点 可编程的电容-数字转换器(CDC)fF分辨率 13路电容传感器输入 9ms的更新速率(所有13路传感器输入) 无需外部RC元件 自动转换定序器 /
AD7150 用于近程传感的超低功耗双通道电容式转换器
优势和特点 超低功耗工作电压(V):2.7 V至3.6 V;工作电流:100 µA 响应时间:10 ms 自适应式环境补偿技术 2个独立的电容输入通道传感器
AD7142 电容式触摸传感器专用可编程控制器
优势和特点 可编程的电容数字转换器36 ms的更新速率(最大序列长度时)分辨率优于1 fF14个电容式传感器输入通道无需使用外部RC调谐元件自动转换定序器片内自
AD7843 触摸屏数字转换器
优势和特点 4线触摸屏接口 额定吞吐量:125 kSPS 低功耗:最大1.37 mW(125 kSPS,VCC = 3.6 V) 单电源(VCC):2.2 V
AD7152 12位电容数字转换器(2个电容输入通道)
优势和特点 电容数字转换器 与浮动式传感器接口 分辨率:最低0.25 fF(即最高12 ENOB) 线性度:0.05% 共模(不可变)电容最大可达5 pF 内
AD7143 电容式触摸传感器专用可编程控制器
优势和特点 可编程的电容-数字转换器25 ms的更新速率(最大序列长度时)分辨率优于1 fF8个电容式传感器输入通道无需使用外部RC调谐元件 自动转换定序器片
AD7745 24位、单通道电容数字转换器
优势和特点 采用单芯片解决方案的新标准可与单一或差分浮动式传感器接口分辨率:最低4 aF(即最高21 ENOB)精度:4 fF线性度:0.01%共模(不可变)电
AD7746 24位、双通道电容数字转换器
优势和特点 下载示例代码采用单芯片解决方案的新标准可与单一或差分浮动式传感器接口分辨率:最低4 aF(即最高21 ENOB)精度:4 fF线性度:0.01%共模
AD7151 用于近程传感的超低功耗单通道电容式转换器
优势和特点 超低功耗工作电压(V):2.7 V至3.6 V;工作电流:70 µA 响应时间:10 ms 自适应式环境补偿技术 1个电容输入通道传感器电容(C
AD7147A CapTouch®单电极电容式传感器专用可编程控制器
优势和特点 可编程电容数字转换器(CDC) - 欲了解更多信息,请参考数据手册。 片内自动校准逻辑自动补偿环境变化自适应的阈值和灵敏度电平 寄存器映射与AD
AD7156 超低功耗、1.8 V、3 mm × 3 mm、双通道电容式转换器
优势和特点 超低功耗电源电压: 1.8 V 至 3.6 V工作电流: 70 μA (典型值)关断电流:2 μA(典型值) 快速响应时间转换时间:每通道10 ms
AD7879 用于触摸屏的低成本控制器
优势和特点 4线触摸屏接口 电源电压:1.6V~3.6V 中值滤波器与均值滤波器,用于降低噪声 自动转换序列器与定时器 用户可编程的转换参数 辅助模拟输入/电
AD736 低成本、低功耗、真均方根直流转换器
优势和特点 将交流电压波形转换为直流电压,然后再转换为真均方根、平均整流、或绝对值200 mV均方根满量程输入范围(采用输入衰减器时,输入范围更大) 高输入阻
LTC1966 精准型微功率 ΔΣ RMS 至 DC 转换器
优势和特点 使用简单,只需要一个电容器 采用 ΔΣ 技术的真正 RMS 至 DC 转换 高准确度: 0.1% 增益准确度 (从 50Hz 至 1kHz) 0
AD630 平衡调制器/解调器
优势和特点 可从100 dB噪声中恢复信号 频道带宽:2 MHz 压摆率:45 V/μs 低串扰: −120 dB (1 kHz),−100 dB (10 k
AD636 低电平真均方根直流转换器
优势和特点 通过激光调整实现高精度AD636K最大误差:0.5% AD636J最大误差:1.0% 宽响应能力计算交流和直流信号的均方根值1 MHz,−3 d
上一页
6
/
32
下一页